


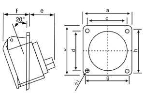
16Amp | 32Amp | |||||
Poles | 3 | 4 | 5 | 3 | 4 | 5 |
a | 76 | 76 | 76 | 80 | 80 | 80 |
b | 86 | 86 | 86 | 97 | 97 | 97 |
c | 60 | 60 | 60 | 60 | 60 | 60 |
d | 61 | 61 | 61 | 71 | 71 | 71 |
e | 36 | 45 | 45 | 51 | 51 | 51 |
f | 37 | 37 | 37 | 50 | 50 | 52 |
g | 50 | 56 | 65 | 65 | 65 | 70 |
h | 55 | 62 | 72 | 75 | 75 | 80 |
i | 5.5 | 5.5 | 5.5 | 5.5 | 5.5 | 5.5 |
Wire flexible [mm2] | 1-2.5 | 2.5-6 | ||||
創新探索,開創未來
